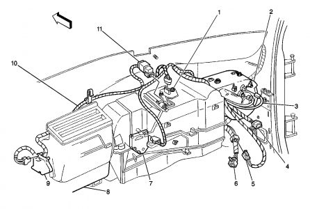
2000 Cadillac Escalade Heater Not Working
"2000 Chevy Silverado: How to Replace Blower Motor, Blower Motor Problems Auto Repair Help YouTube, 2000 Cadillac Escalade A c Cooling: Air Conditioning , CHEVY GMC SEAT HEATER TROUBLESHOOTING Doovi, 1992 1996 Chevy Corvette C4 Oil Filter Spacer Adapter Used , 1994 1996 Chevy Corvette C4 Steering Wheel Black Leather , 1992 1995 Corvette C4 Throttle Position Sensor Module W , 1997 2004 Chevy Corvette C5 Torque Tube Wire Harness Auto , , , , , , , , , "
Best Post
						 Popular Post
							✔ 2003 cadillac deville engine swap
						✔ 2012 cadillac srx bluetooth music
						✔ Cadillac suv models prices
						✔ 2016 dodge ram 1500 price
						✔ 2008 chrysler pt cruiser touring edition
						✔ 2017 dodge challenger key fob battery
						✔ 1998 chrysler sebring jxi
						✔ Dodge challenger 1970 price in pakistan
						✔ 2020 chevy blazer rs top speed
						✔ Dodge charger 2018 vs 2019
						✔ Ferrari 355 f1 berlinetta specs
						✔ All american chevrolet route 35 middletown nj
						✔ El dorado chevrolet mckinney service
						✔ 2016 cadillac ct6 edmunds
						






