Dodge Ram 2500 Cranks But Wont Start
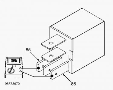
"1998 Dodge Ram 98 Dodge Ram Cranks but Will Not Start, Ford F Super Duty Overview Cargurus Supercab Back Driver , 9 relay wiring Diesel Bombers, I have a 1996 dodge ram l the current issue is it , , , , , , , , , , , , , "
Best Post
						 Popular Post
							✔ 2019 chevrolet silverado 1500 crew cab colors
						✔ Dodge caravan 2018 key
						✔ 1967 cadillac eldorado 2 door coupe
						✔ Mary kay cadillac sales director
						✔ 2004 chrysler pacifica timing belt
						✔ 2013 chrysler 200 brake pads
						✔ Chevrolet camaro 2018 malaysia price
						✔ 2019 chevrolet silverado 1500 body styles
						✔ 69 dodge dart
						✔ Chevrolet traverse redline for sale
						✔ Grande prairie chrysler dodge jeep ram dealership new
						✔ Used chrysler pacifica albany ny
						✔ Rick hendrick chevrolet of buford georgia
						✔ 2013 chrysler 200 youtube
						


